
咨询电话:0791-88359008
售后电话:0791-88307187
市场监督:0791-88309898
传真号码:0791-88310011
咨询服务QQ:
(江西洗地机厂家)



【揭秘】旭洁洗地机研发新成果曝光
自动洗地机为什么能自动行走,是因为刷盘电机带动着刷盘旋转,清洗地面的同时,带牵引系统的机器会带动机身往前行进。无牵引结构的洗地机在正常工作状态下,由于地面摩擦系数的原因,导致在使用时有较大的阻カ感,提高了操作者的疲劳度。旭洁环保一直在牵引结构的改进上锐意进取,不断钻研,取得了阶段性的胜利。
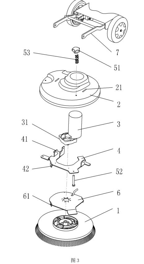
洗地机刷盘牵引结构,包括刷盘电机及与刷盘电机底座固定连接的刷盘组件,刷盘电机及刷盘组件上套装有刷盘罩,其特征在于:刷盘组件与刷盘罩之间设置有支架,所述支架穿过刷盘罩与洗地机提升杆铰接连接;所述支架上还铰接安装有电机固定板,所述电机底座与电机固定板固定连接并固定在刷盘组件中心轴上,调节螺栓穿过支架及刷盘罩并顶紧在电机固定板的端面上。
作为本实用新型的改进,所述刷盘罩端面开槽,所述支架两端设有支耳穿过所述开槽,与所述提升杆铰接连接;所述电机固定板两侧设有铰接耳,与支架两侧设置的铰接座配合,将电机固定板与支架铰接连接。
所述调节螺栓包括手柄、螺栓和套装在螺栓上设置于手柄和刷盘罩之间的弹簧。
有益效果是:本实用新型在使用过程中,当调节螺栓向下运动吋,电机固定板受カ绕铰接轴转动,产生偏摆,也带动刷盘组件向一侧偏摆,从而増大了刷盘毛单侧对地面的压力,进而在刷盘旋转过程中形成了一定的牵引力,使刷盘转动更加轻松,减轻了操作者的疲劳强度;同时,可根据地面条件的不同,对调节螺栓的旋入程度进行调整,即调整对电机固定板的压カ大小,从而改变刷盘毛单侧对地面的压力,以实现不同地面条件下牵引力大小的适度调整。
附图说明
下面结合附图和实施例对本实用新型进一步说明。

图1是洗地机整体图;

图2是本实用新型拆除刷盘罩的组装状态示意图;

图3是本实用新型拆分状态示意图。
公布是为了抛砖引玉,如果相关洗地机厂家看到,请联系我们,能互相探讨,促进洗地机结构的发展,是件好事。
上一篇:洗地机洗地实拍视频旭洁X750
下一篇:【曝光】旭洁解决清污水箱连接难题





