
咨询电话:0791-88359008
售后电话:0791-88307187
市场监督:0791-88309898
传真号码:0791-88310011
咨询服务QQ:
(江西洗地机厂家)



【曝光】旭洁解决清污水箱连接难题
洗地机当前的设计中清污两个水箱通常使用类似皮箱的外用搭扣进行锁紧,其存在几个问题:1、搭扣外露,影响洗地机的整体美观;2、洗地过程中的震动容易导致搭扣松脱;3、遇到地面障碍或不平处,需要抬起机器前端时,污水箱需要靠搭扣的扣紧力作用下跟随清水箱一并抬起,经常受力,搭扣容易老化断裂;4、搭扣需要手动进行锁紧或打开,操作复杂。
洗地机厂家旭洁环保针对以上难题,早就组织了团队进行研究,目前来说也算小有成就,和大家做过分享。为了克服现有技术的不足,本公司设计了一种内藏式的洗地机清水箱和污水箱自动锁紧结构,操作简单快捷、牢固可靠。解决其技术问题所采用的技术方案是:
一是洗地机水箱自动锁紧结构,包括清水箱和污水箱所属清水箱内侧的闭合端面上设置有锁扣结构,所属锁扣结构包括带有两支耳的固定板、滑动连接在两支耳之间的拉杆以及可带动拉杆复位的弹簧;污水箱内侧的闭合端面上设置有锁扣板,所属拉杆的端部插入所属锁扣板下方将清、污水箱锁紧闭合。
作为本次成果的改进,所述拉杆端部设置有斜面。
作为本次成果的进一步改进,所述拉杆包括插入锁扣板下方的锁扣销以及与锁扣销端部固定连接的锁扣拉杆,所述弹簧套装在所述锁扣拉杆上。
本次成果的有益效果是:本次成果在清、污水箱内侧的闭合端面上对应设置有锁扣结构和锁扣板所形成的锁紧结构,由于该锁紧结构内置在清、污水箱的闭合端面中,不会外露,故不影响洗地机的外观;而且只需拉动拉杆即可实现清、污水箱的锁紧或打开,操作简单快捷;同时,锁紧结构的设计牢固可靠,不会随机器的震动或受力的影响而松脱或断裂;当拉杆端部设置斜面时,在清水箱重力作用以及斜面的导向作用以及下,无需拉动拉杆,即可实现清、污水箱的自动锁紫。本次成果操作简便,可广泛适用于各种带有清水箱污水箱翻转闭合结构的手推式洗地机。
附图说明
下面结合附图和实施例对本次成果进一步说明。

图1是本次成果的清水箱污水箱打开状态示意图;

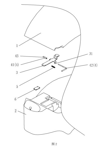
图2是本次成果拆分结构示意图。具体实施方式
参照图1、图2,一种洗地机水箱自动锁紧结构,包括清水箱I和污水箱2,所述清水箱I内侧的闭合端面上设置有锁扣结构,所述锁扣结构包括带有两支耳31的固定板3、滑动连接在两支耳之间的拉杆4以及可带动拉杆4复位的弹簧5 ;所述污水箱2内侧的闭合端面上对应设置有锁扣板6,所述拉杆4的端部插入所述锁扣板6下方将清水箱污水箱1、2锁紧闭合。
本实施例中,所述拉杆4包括可插入锁扣板6下方的锁扣销41以及与锁扣销41端部固定连接的锁扣拉杆42,所述弹簧5套装在所述锁扣拉杆42上。作为本次成果的优选实施方式,拉杆4的锁扣销41端部设置有斜面43。
组装时,将锁扣拉杆42、锁扣销41分别穿过固定板3两端的支耳31,将弹簧5套装在锁扣拉杆42上,然后将锁扣拉杆42与锁扣销41固定连接。
当需要打开清水箱污水箱时,拉动锁扣拉杆42,拉杆4在支耳31中向外侧滑动,锁扣销41离开污水箱2上锁扣板6,清水箱污水箱翻开;当需要将两者扣合吋,只需翻转关闭清水箱,由于锁扣拉杆42端部有斜面43,在清水箱重力及斜面43的导向作用下,锁扣拉杆42自行向外侧滑动,并在弹簧5的复位作用下,锁扣销41端部卡入锁扣板6下方,此时,整个清水箱污水箱处于稳固状态,不会随着机器的震动或受力而自行打开。
本实施例中,所述固定板3跨接固定在清水箱内侧的充电器7上,这样,固定板不仅起到拉杆支架的作用,还可以起到固定充电器7的作用,结构设计简单紧凑。
本次成果在清水箱污水箱内侧的闭合端面上对应设置有锁扣结构和锁扣板所形成的锁紧结构,由于该锁紧结构内置在清水箱污水箱的闭合端面中,不会外露,故不影响洗地机的外观;而且只需拉动拉杆即可实现清水箱污水箱的锁紧或打开,操作简单快捷、锁紧牢固可靠,可广泛适用于各种带有清水箱污水箱翻转闭合结构的洗地机。
上一篇:【揭秘】旭洁洗地机研发新成果曝光
下一篇:洗地机刷盘的安装方法





