
咨询电话:0791-88359008
售后电话:0791-88307187
市场监督:0791-88309898
传真号码:0791-88310011
咨询服务QQ:
(江西洗地机厂家)



洗地机车轮的防水设计
洗地机自产生后,一代代洗地机人对其进行改进,唯有车轮一直没什么变动。目前的洗地机车轮都是单纯的采用塑料密封盖遮挡外侧,只起到防尘和美观作用,还达不到防水的需求。轴承的密封圈只是起防护润滑油和平垫片挡住滚柱,但不能防止水汽进入整个轴内。洗地机是用水与各种去油污的化工试剂进行混合对地面进行清洗,由于洗地机的车轮担负着洗地机的移动与行走,长时期与水及各种清洗液接触,这些液体极易从车轮的内侧进入车轮内部而造成对车轮轴承的腐蚀,导致整个轴承锈蚀,滚动困难的问题。如损坏了轴承,而使洗地机不能移动或行走,需要对车轮进行更换,其使用成本比较高。
另外,现有的驾驶式洗地机的车轮外盖是塑料盖,并通过塑料盖边缘镶有丝牙与车轮固定,其生产加工成本高且塑料盖弹性差、易老化,并且不易安装,也不能有效预防水蒸汽进入轴套内部而损坏轴承。
本实用新型就是要解决上述不足,提供一种使用期限长、装备简单的洗地机的防水车轮。
为了达到上述效果,本实用新型提供一种洗地机的防水车轮,包括轮子、轴承、轴芯,以及设于所述轴承外侧且固定在轴芯端头的外密封盖,所述轴承的内侧设有内密封盖,所述内密封盖的内沿卡套在轴芯上,内密封盖的周边固定在所述轮子的内侧。位于轴承内侧的轴芯上依次设内隔挡与凹槽,所述内密封盖的内沿卡套在所述凹槽中;所述内隔挡位于内密封盖与轴承之间。所述内密封盖的边缘外周设有聚氨酯凸环,所述内密封盖通过凸环嵌入所述轮子内侧固定。内密封盖通过凸环而直接嵌入轴承孔内,使其与
轮子镶嵌的十分牢固。所述内密封盖的中孔直径比凹槽的直径大l_2mm,所述内隔挡的直径比内密封盖的中孔直径大5-6mm。内密封盖的中孔直径比凹槽的直径大这样在车轮走动时,内密封盖能不随轴芯的动动而自由转动。内隔挡的直径比内密封盖的中孔直径大,使其水汽从外面无法进入轴承内部,车身外部的水淋到内密封盖上,水会顺着内密封盖流入轴芯凹槽内再自动流到地面上再被吸水扒吸走。[0010]所述外密封盖的边缘外周设有凸环,所述外密封盖通过凸环嵌入所述轮子外侧固定。
上述方案的优选方案是,所述内、外密封盖上的凸环的材质是聚氨酯。
本实用新型的组装是先在轮子的中心孔内装入轴承,再在轴承孔内装入轴芯,在轴芯的底端通过螺母与外密封盖固定,在轮子的另一侧再将内密封盖套上轴芯上的凹槽内,使其能自由转动。
所以,本实用新型与现有技术相比,具有如下有益效果:
(1)内、外密封盖边缘外周均设有由聚氨酯制成的凸环,由于聚氨酯材料具有高回弹性、高耐磨、扯拉强度好,耐水解、耐酸碱性能优越,使其与轮子紧密镶嵌固定,而使它们易于安装,并且不易老化,也不易磨损,提高了其使用寿命。
(2)轴芯上设有内隔挡与凹槽,内密封盖扣设在所述凹槽外周,而内隔挡位于内密封盖与轴承之间,使轴芯与内密封盖完美结合,并防止外
界的水汽进入车轮轴承内部。
(3)本实用新型易于装配,省工省力,降低劳动力成本;
(4)由于车轮设有内、外盖,避免了轴承的损坏,从而降低维修成本;
(5)本实用新型的外观设计新颖,美观大方,使整体车辆外观更加整洁、舒适。
附图说明
下面结合附图和具体实施方式对本实用新型作进一步详细的说明。
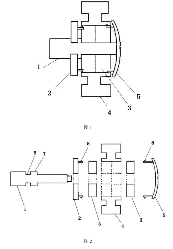
图1是本实用新型结构剖视图;

图2是本实用新型组装剖视示意图;
图中:1-轴芯,2-内密封盖,3-轴承,4-轮子,5-外密封盖,6-凹槽,7-内隔挡,8-凸环。
上一篇:洗地机刷盘的安装方法
下一篇:旭洁洗地机在手,厂房地面清洁我有





