
咨询电话:0791-88359008
售后电话:0791-88307187
市场监督:0791-88309898
传真号码:0791-88310011
咨询服务QQ:
(江西洗地机厂家)



洗地机刷盘的安装方法
旭洁洗地机刷盘的安装方法是:使用刷盘升降踏板升起刷盘座,将刷盘放到刷盘座中央,向上贴合刷盘座,向左旋转,待刷盘装好,启动刷盘开关,刷盘转动,完成装刷操作。目前市场上所有洗地机品牌基本都是通过类似的电机导向实现刷盘固定座与刷盘的自动对位,在对位的过程中,刷盘固定座与刷盘的安装端面刚性碰撞,会产生強烈的碰撞对位噪音,影响操作者使用舒适性。为了提高用户体验,旭洁新型洗地机进行了研发和改善。
实用新型内容
为了克服现有技术的不足,本实用新型提供一种洗地机自动装刷结构。
本实用新型解决其技术问题所采用的技术方案是:
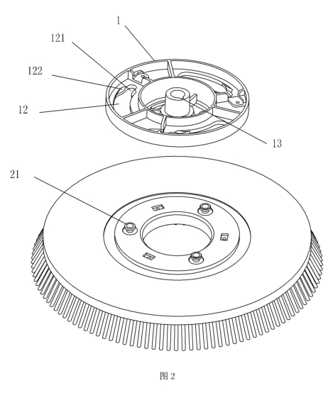
一种洗地机自动装刷减震结构,包括刷盘固定座与刷盘,所述刷盘固定座或刷盘的安装端面上设置有环形凹槽,所述环形凹槽内装有O型胶
圈;所述刷盘固定座的端面设置有多个长条形滑槽,所述刷盘的端面设置有多个与所述滑槽配合的限位柱。
作为本实用新型的改进,所述限位柱呈上宽下窄的倒台阶状,所述滑槽的宽度在尾端处收窄,当所述限位柱滑入所述尾端吋,限位柱的上端台阶面卡在滑槽端面上。
本实用新型的有益效果是:本实用新型的刷盘固定座旋转时,通过长条形滑槽和限位柱的配合自动调节对正与刷盘安装的正确位置,O型胶
圈在刷盘固定座与刷盘刚性接触之前,起到了缓冲作用,避免因安装端面的刚性接触而产生的碰撞噪音,大大改善了自动装刷动作操作的舒适性,可广泛适用于带有各种自动装刷结构的洗地机上。
附图说明
下面结合附图和实施例对本实用新型进一步说明。

图1是本实用新型的拆分结构示意图;

图2是本实用新型刷盘安装面与刷盘固定座的结构示意图。
上一篇:【曝光】旭洁解决清污水箱连接难题
下一篇:洗地机车轮的防水设计





